今年,奈雪的茶顺利上市,成为新茶饮赛道的第一家上市公司。老K相信,这只是刚开始,在奈雪之后,未来3-5年应该还会有10家左右的新茶饮公司,完成在海内外市场的挂牌上市。

目前,结合餐饮行业自身的特点来看,去以港股为代表的海外市场上市,应该是大部分餐饮公司最现实的选项。而如果要去境外上市,就需要企业完成海外架构的搭建,也就是我们经常听到的“红筹架构”。
红筹架构,指中国境内的公司在境外设立离岸公司,然后将境内公司的资产注入或转移至境外公司,实现境外控股公司在海外上市的融资目的。

今天,老K就以奈雪为例,与大家聊聊海外上市架构的搭建和注意事项,供各位餐饮创业者参考。
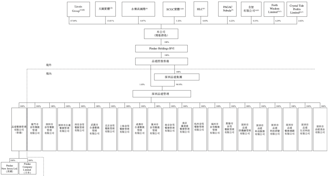
根据公开披露信息,奈雪在上市架构重组前的股权架构如下:

实际上,深圳品道管理作为整个业务运营的主体,是一家股权结构并不算复杂的内资公司。而最终公开发行前,奈雪重组后的架构如下:

首先,老K大概说下整个流程:
第一步,创始人在开曼群岛设立了“Nayuki Holdings Limited奈雪的茶控股有限公司”作为上市主体,上市主体再全资控股在英属维尔京群岛注册成立的“Pindao Holdings BVI”。
第二步,Pindao Holdings BVI全资控股品道控股香港有限公司。
第三步,由品道控股香港有限公司全资控股深圳市品道集团有限公司(WFOE)。
第四步,由品道控股香港有限公司与深圳市品道集团有限公司,共同设立深圳市品道餐饮管理有限公司,该公司全资控股奈雪的茶相关公司。
可见,红筹结构最核心的步骤是:①创始团队层层设立BVI公司/开曼公司/WFOE --> ②使用WFOE收购或通过控制性协议合并境内运营主体。
下文,我们拆解了整个架构搭建过程中最核心的一些部分,供参考。
01 奈雪主要股东分析第一 ,股东Linxin Group作为上市的主要控股股东,在维京群岛注册成立,背后由Linxin International全资拥有。而Linxin International由Linxin Trust全资拥有,Linxin Trust则是2020年12月30日在根西岛设立的不可撤销全权信托,其受益人为林心控股。
林心控股为一家控股公司,由奈雪的创始人夫妇分別最终拥有50%及50%股权。整个Linxin Group的投票权,由创始人夫妇赵林及彭心行使。
第二,股东Forth Wisdom Limited所持有的,是奈雪核心员工的股份池,也采取了信托模式,并且由公司创始人彭心管理。Forth Wisdom Limited所持投票权,由创始人夫妻赵林及彭心行。
而之所以需要通过ESOP来持有股权激励的股份,首先可以避免公司股权结构的频繁变动,当公司发生重大决策时,也不会受到员工股东的影响。其次,创始人不会让渡公司的控制权,无论股权激励的池子有多大,创始人都可以牢牢握住公司的发展轨迹。此外,在公司上市前提前行权并将股权转入信托,也是有一定的税筹和员工个人财富风险隔离的好处。
第三,股东Crystal Tide Profits Limited在维京群岛注册,由独立第三方信托管理,是作为储备未来必要人员的储备股份,相关投票权由创始人彭心行使。我们可以看到,通过相关的设计,创始人实现了家族财富规划、公司控制权掌控、核心员工激励等多方面的诉求。
值得注意的是,离岸信托模式这些年已被广泛应用于香港上市架构。出于信息披露、税务风险等考虑,公司常常会选择在上市前完成信托架构的搭建,而在搭建过程中可以通过信托角色安排、持股公司董事安排等,保证公司控制权的连续性。
02 其他关键知识点1、关键问题:为什么股权机构的第一层,基本都设在维京群岛BVI?
通常而言,在维京群岛设立公司程序简单,还有费用低廉、保密性和避税效果好的优点。
因此,创始股东一般会用自己100%持有的BVI公司,去持有其在Cayman公司的股份。这样以后Cayman公司(上市主体公司)有分红或出售股票所得收入时,该项收入会进入BVI公司而非个人,避免了被立即征收个税,具有一定的递延纳税或可能免税的功能。
而且设立公司平台,相比个人直接持股,也肯定有方便股权控制和某些股东绕开禁售期的限制的功效。
当然,自2018年9月起,中国首次启动交换非居民金融帐户涉税资讯(CRS),包括开曼在内的数十个国家和地区政府与中国之间开展信息交换,交换各自掌握的对方税收居民在本国金融账户的账户信息。因此,各种应对方案也被设计出来,比如有些创始人选择了变更国籍,也有的公司和奈雪一样选择了再嵌套信托架构等。
2、关键问题:为什么设置开曼公司?
作为上市主体,开曼公司因为相较于BVI更为规范,监管要求更高,因此被各大境外交易所广泛接受。
同时,开曼公司治理方式带来了更灵活的员工激励、类别股等制度筹划空间。比如创始人可设置为普通股股东,投资人可设置为优先股股东,不同轮次投资人可分为多个系列及类别的优先股股票。
而不同轮次投资人的权利安排,通常参考原在境内公司的股东协议、章程约定,通过开曼公司股东协议、章程等文件予以明确。比如奈雪的茶开曼公司搭建完成后,先后发行A系列优先股、A+系列优先股、B-1系列优先股、B-2系列优先股、C系列优先股等。
此外,出于税收和未来投资新项目等方面考虑,开曼公司和香港公司之间通常还会再设立一层BVI公司。
3、关键问题:为什么设置香港公司?
香港与内地有税收优惠安排,因此一般作为海外的最后一层,直接投资内地企业。
此外,从具体注册操作层面讲,用香港作为股东在境内设立外商投(WFOE),需要对股东进行公证,而香港公司的公证费用和时间成本,均比对开曼进行公证节约很多。
当然,近年来中国税务机关对香港公司申请享受协定待遇的审批越来越严格,也需要关注。
4、关键问题:原境内创始股东如何“外翻”?
这部分最核心的是涉及《关于境内居民通过特殊目的公司境外投融资及返程投资外汇管理有关问题的通知》(“37号文”)的规定解决:1)境内居民在境外持股的合规性;2)境外融资和返程投资的合规性;3)打通境内居民境外投资资金调回通道。
需要注意的是,37号文登记的目的是为了境外融资及返程投资。因此,需要在完成37号文登记后,去完成境外融资及返程投资的动作,并且此时间节点不可提前,否则可能会被认定为补登记,面临处罚风险。
此外,境内机构投资人股东往往是根据自身基金的实际情况,在完成境内实体运营公司层面的股权退出后,选择境外关联投资主体进行权益置换,或利用ODI备案进行境外投资抑或,申请QDII(合格境内投资者)身份,或通过QDII主体去投资等方式。
5、关键问题:如何解决员工激励股权问题?
境外ESOP架构主要有三种形式:预留股权(Reserve),设立 “ESOP BVI”代持,以及设立境外ESOP信托。
开曼公司法采用授权资本制,即开曼公司在设立后可以预留部分股权用于将来发行。因此,不同于境内ESOP一般设立有限合伙企业等平台进行代持,开曼公司可以在搭建VIE架构时预留出ESOP股权,待激励对象将来行权时再实际发行该等ESOP股权。
而所谓代持股权架构,是设立ESOP BVI,并由创始人暂时代持ESOP BVI股权的境外ESOP架构。开曼公司实际发行ESOP股权,且该等股权由创始人代持,所以该架构可以增加创始人投票权。委托自然人(通常是创始人)通过BVI公司代持,可避免员工变动导致的股权频繁变动,员工无投票权,可加强创始人对公司的控制力度。
境外ESOP信托是用信托计划代替ESOP BVI作为载体,激励对象成为境外ESOP信托受益人的架构。设立境外ESOP信托,可以让激励对象看到公司为其权益进行实际付出,员工获得感更强,也避免代持可能产生的道德风险,同时信托资产独立于激励对象个人财产,避免激励对象和发股主体因激励对象自身债务、离婚等问题对激励股权造成影响。
至于具体选择何种架构,境内原激励股权方案的处理、税筹和资本出入境等涉及的内容非常复杂,有机会再专题讲解。
6、关键问题:如何解决境内运营资产转入的问题?
要想将境内公司的资产注入或转移至境外公司,一般可采用两种不同方式实现:第一种,通过境外公司对境内公司直接股权控制;第二种,通过协议控制(即所谓的VIE模式)。因为奈雪所涉及的行业并无所谓的外资准入限制,因此采用了直接股权控制模式。
而在境外香港公司收购境内原运营主体公司时,需要规避适用《关于外国投资者并购境内企业的规定》(“10号文”)的规定。因为根据该规定,境外投资者收购境内企业时,需要获得商务部的审批,然而从2006年该文件的出台及实施以来,商务部尚未审批通过一例海外关联并购。
因此,实践中往往采取“曲线救国”的方式,具体就是奈雪采取的“分步走模式”:第一步,先将境内公司部分股权转让外国投资者,使境内公司变更为外商投资企业;第二步,境外离岸公司再收购外商投资企业的境内股东的股权。由于香港公司收购境内实体股权前,境内实体已变更为中外合资企业,本次收购不再受限于并购规定中有关关联并购的限制。
同时,以上两个步骤均需办理境内实体所在地商务/外资主管部门的外汇登记和返程投资标识备案手续。值得提醒的是,其实这个曲线救国是在“打擦边球”,因此目前有些地方的商务/外资主管部门对于“两步走”持谨慎态度。
此外,收购境内实体运营企业时,更会涉及较为复杂的税收问题,届时需要在税务顾问的指导下进行相关设计。
小 结在此,老K想说的是,奈雪的茶整个上市架构的搭建仅供参考。具体结构如何安排,没有绝对的好与坏,关键是看目的何在。
经过整个分析,大家可以看到,在整个搭建红筹结构过程中,根据不同项目的具体情况和诉求,将会涉及外管登记、原股东境外落地、资金流转、关联并购问题、税务成本等各方面的具体细节和设计,需要专业顾问的指导。