曾经火遍上海的知名面馆,如今批量关店、破产清算,到底怎么了?
又一知名连锁品牌陷入闭店风波。
曾靠一款鸭腿面和野生小黄鱼煨面,在上海众多面馆中闯出一片天的“家有好面”,近日被曝多家门店关门,所属公司已经进入破产清算程序!
怎么回事?

太突然!上海知名面馆破产清算
主体公司涉案金额上百万
近日,多位网友在社交平台上称,上海知名连锁面馆“家有好面”多家门店关闭,部分门店欠款被封。

△图片来源:大众点评APP
在一位网友拍摄的视频中,家有好面莘庄龙之梦店大门紧闭,门上还贴着法院的封条和通知书。
通知书内容显示,家有好面所属的上海家有好面餐饮管理有限公司(以下简称“家有好面公司”)涉及一起破产清算案件。9月26日,上海市第三中级人民法院裁定受理了这起破产清算案,预计将于12月开庭审理。

△图片来源:企查查
餐饮吧搜索大众点评APP发现,目前家有好面在上海仅有1家“国展中心店”仍显示为“营业”状态,评论区最新留言时间为11月12日。其余5家叫“家有好面”的门店,经营状态均为“暂停营业”。

△图片来源:大众点评APP
11月16日下午17点左右,餐饮吧赶到上海国展中心探访家有好面“国展中心店”,结果国展中心整个展区都处于封闭状态,无法进入。
国展中心安保人员告诉餐饮吧,非展出期间,国展中心的所有餐饮店均未开门营业,后续展区开放时,家有好面店是否会正常营业,他们也不得而知。
餐饮吧多次拨打家有好面公司登记在企查查平台的联系电话,均无法接通。
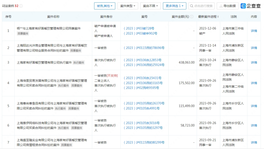
企查查信息显示,今年以来,家有好面公司作为被告共涉及32起案件,案件的主要案由是劳动合同纠纷和买卖合同纠纷,涉案金额约194万余元。该公司作为失信被执行人的案件金额也超百万元。

△图片来源:企查查
此外,家有好面公司法人张兰妹已经被法院限制高消费,涉案金额 239.46 万元。

消费者直言“难以接受”
关店或因资金链断裂
据餐饮吧了解,“家有好面”成立于2009年,是上海本帮面馆的知名连锁品牌之一,主打上海特色小黄鱼煨面和本帮特色辣肉面、肥肠面等。
大众点评显示,家有好面的人均消费价格约为40元,SKU超40种,除了主营的面类产品,还售卖馄饨、米饭、炒菜、小吃等。

△图片来源:“家有好面”公众号截图
家有好面创立之初,曾受到当地许多消费者热捧,一些上海市民回忆称,“当年家有好面几乎是上海商场里的‘标配’”“门店经常排队”。
上海消费者黄铭(化名)告诉餐饮吧,“黄鱼面非常鲜美,薄切猪排从小吃到大。”
对于这次家有好面的闭店现象,黄铭直言:“难以接受,没想到突然间就没了。”
家有好面为何突然陷入窘境?
餐饮吧观察发现,资金链断裂,或是家有好面关店的主要原因。
裁判文书网上关于家有好面公司的多份判决书显示,其于2021年开始无法偿还供应商货款。在员工薪资问题上,也与多名员工产生劳动合同纠纷。

△图片来源:中国裁判文书网
其中一份判决书显示,原告上海家有好面餐饮管理有限公司向法院提出了“不支付被告2022年3月至2022年6月工资7688.11元”的诉讼请求,理由之一是:为配合上海市新冠肺炎疫情管理政策,原告于2022年3月中下旬开始停工停产,数月时间旗下多家门店关门,公司负债累累。
此外,一些当地消费者认为,品牌老化、跟不上时代的步伐,也是家有好面滑落的原因。
今年7月,大众点评网友“未若柳絮因风起”就直言:“曾几何时,家有好面在魔都也算一个老品牌,可惜没跟上时代步伐,渐渐没了声响,甚至让我以为倒闭了,没想到今天在缤谷广场还遇上一家,不过基本上也看不到几个人,目前这个内卷程度,,光靠吃老本可不行啊。”
在大众点评上,还有不少网友吐槽家有好面的性价比越来越低。
“50块钱一碗面,还非常离谱的难吃”“口味一般,服务差,价格还不便宜”“面条质量越来越差,煨面汤料是调味粉冲出来的,馄饨皮子也不是原来的质量了”……

不到一年,近29万家门店倒下
面馆赛道加速出清
值得一提的是,家有好面的关店收缩,只是今年面馆赛道洗牌的一个缩影。
红餐大数据显示,截至目前,全国在营面馆门店数约为58万家。今年以来,新增的面馆类门店数约为20.37万家,关闭的门店数量约28.99万家。
不到一年,近29万家面馆倒下……是什么导致面馆大量闭店?
首先,开一家面馆的门槛较低,投资也相对较小,历来就是小本生意的创业首选,每年入局的人都非常多。这些遍布全国的街边小店,也是面馆赛道的主力。
然而,这些小店的抗风险能力普遍偏弱,在面对不确定的大环境时,生存困境往往会更加明显。

△图片来源:图虫创意
今年以来,消费弱复苏、餐饮市场竞争白热化,再加上租金等各项成本居高不下,很多中小面馆或入不敷出,或勉强维生。开一家面馆,已经不再是躺赚的生意。
与此同时,连锁面馆不断抢占市场,也对中小面馆带来了冲击。除了提供更舒适的门店环境,连锁品牌有更强大的供应链实力,在同品质的情况下,往往能比中小门店做到更低的价格,对消费者的吸引力更高。
更不用说,今年几乎整个餐饮行业都在打价格战,小店们根本无力对抗。
过去,面馆赛道长期处于“有品类无品牌”,很多小面馆的口味、环境和服务相对一般,跟不上消费趋势的变化,则是闭店的内在因素。
可以预见的是,未来随着赛道出清加剧,倒下的面馆或许还会越来越多。