餐饮吧报道,据界面新闻消息,网传烘焙品牌“牛角村”在关闭北京直营门店半年之后,或已经开始申请破产。
近日,有网友反映网红烘焙品牌牛角村已经申请破产。网传图片显示,有消费者向北京12315投诉牛角村储值卡退款事宜,回复内容显示,北京牛角村餐饮管理公司已向北京破产法院申请破产,正在进行破产清算,会员预付卡储值金也纳入破产清算债权债务。
记者向北京牛角村的加盟店咨询储值卡消费事宜,得到的答复是,由于牛角村公司已经破产,该店不能使用牛角村直营门店的储值卡,目前北京仅有两家牛角村烘焙店,与直营店均无关系。
此外,记者试图联系北京牛角村餐饮管理公司,但该公司的号码已经是空号,该品牌官网已无法访问。但目前北京破产法院暂未对这一破产申请进行公示。
从明星光环的网红面包店到大面积关店,牛角村经历了跌宕的5年。

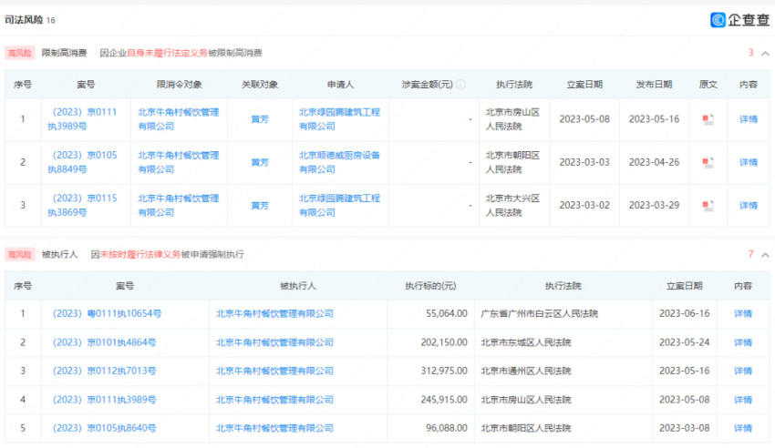
△图片来源:企查查截图
牛角村成立于2015年,2017年5月,牛角村完成了2500万元的Pre-A轮融资,投资方包括大地宏涛、文化中心基金等,还有吴秀波、杨坤和夏雨等名人。而彼时牛角村才开设了7家门店。
有了明星光环的加持,牛角村热度也逐步提升,品牌曾多次在官方微信文案中写道,“牛角村三里屯烘焙体验店,是北京遇见明星几率最高的店。”
2019年,,牛角村开始放开加盟,但其加盟速度并不快,门店最多时仅拥有28家专卖店,其中直营店16家,加盟店12家。
2022年8月,牛角村因虚假宣传收到行政处罚罚款10万元。行政处罚决定书显示,官网宣传“800多家专卖店已遍及全国35省市,并且已经走出国门”等内容失实。而在被处罚时,牛角村已经剩下直营店6家,加盟店4家。
与此同时,多个裁判文书显示,2020年起,牛角村就开始拖欠北京绿园腾建筑工程有限公司装修尾款20万元,以及一家厨房设备公司的设备款。2022年4月28日,北京牛角村餐饮管理有限公司董事长康健持有的1480万元牛角村公司股权已处于冻结状态。
企查查信息显示,最近3个月,北京牛角村餐饮管理有限公司新增5条被执行人信息,被执行总金额超97万元。